
1、管路清洁要求:安装前应彻底清洗管道,并在流量计前安装过滤器(建议200 目以上滤网),以防止杂物进入流量计。安装过程中,请务必避免污物杂质进入流量进口端, 注意接头生料带。
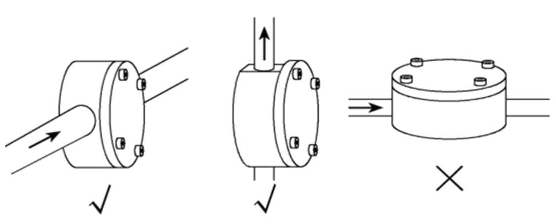
2、安装方向要求:应注意必须把流量计的轴安成水平位置,即盖子与水平面垂直。对于超微小流量的计量,最佳安装是下进上出。
3、液体流向要求:流量计壳体上箭头指向应与被安装管道的液体流动方向一致。
4、旁路:连续流动的管道,安装流量计的水平管道应装有旁路阀,以便定时清洗、检修在垂直管道上流量计,应装在旁路管道中以防止杂物落入仪表内。
5、特殊液体安装要求(易结晶和固化类液体)建议流量计前后管段足够长,采取相应措施,避免流量计所在管段的液体结晶。
6、对于有回流的管路要求:请安装止回阀,避免液体回流造成误脉冲。如果管路不允许装止回阀,建议选用带流向识别功能流量计型号。
7、启动或停止时,启闭阀门应缓慢,防止突然冲击。
8、为防止产生误脉冲,应防止倒流。
9、如果是易结晶类液体,请采取措施,避免流量计所在管段的液体结晶。